Springe auf Hauptinhalt Springe auf Hauptmenü Springe auf SiteSearch
Brandweiterleitung nach unten bei Abwasserrohren

Abschottung muss in alle Richtungen wirken

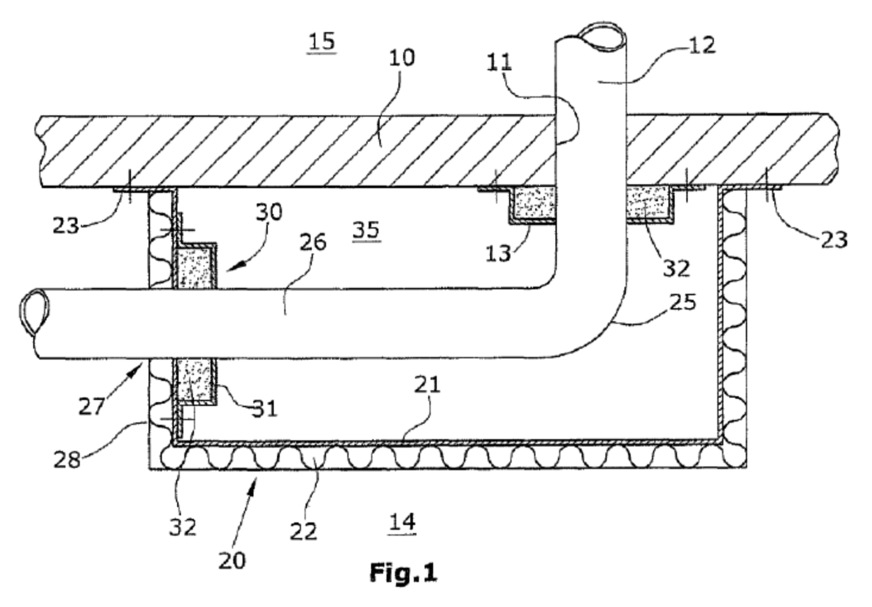
Bild 1 Abschottungsprinzip: Die raumabschließenden Bauteile und Durchführungen müssen so beschaffen sein, dass eine Brandweiterleitung nach allen Seiten für den geforderten Zeitraum („ausreichend lang“) verhindert wird.

Lorbeer

Bild 1 Abschottungsprinzip: Die raumabschließenden Bauteile und Durchführungen müssen so beschaffen sein, dass eine Brandweiterleitung nach allen Seiten für den geforderten Zeitraum („ausreichend lang“) verhindert wird.

 

Mit der Veröffentlichung der IZEG (siehe Info-Kasten) muss der Brandschutz an Abwasserrohrsystemen neu bewertet werden. Ob und wann sich eventuell die Prüf- und Zulassungspraxis ändert, ist noch offen. Unabhängig davon kann es kein Weiter-so-wie-bisher geben. Allein die Sorgfalts- und Aufklärungspflichten von Planern und Fachhandwerkern erfordern nun ein Umdenken.

 

 

 

Kompakt zusammengefasst
■ Rohrabschottungen durch Wände müssen den Nachweis erbringen, dass sie bei einem Brandereignis alle Bedingungen von beiden Seiten erfüllen.
■ Bei Rohrabschottungen durch Decken wird nur die Brandrichtung von unten nach oben geprüft. Dies ist nicht mehr stimmig mit der heutigen Baupraxis und nicht im Einklang mit den gesetzlich verankerten Zielen für den Brandschutz.
■ Die Brandausbreitung nach unten „durch zugelassene Abschottungsmaßnahmen hindurch“ ist Realität und stellt ein Gefährdungspotenzial dar.
 

Worum es geht

IZEG-Brandversuch 2021

Anfang Juli 2021 hat das Informationszentrum Entwässerungstechnik Guss (IZEG) zusammen mit führenden Herstellern gusseiserner Abwasserrohrsysteme Ergebnisse aus einem am 5. Februar 2021 an der akkreditierten Materialprüfanstalt (MPA) in Braunschweig durchgeführten orientierenden Brandversuch veröffentlich (Dokumentation: www.izeg.de/brandversuch-2021).

Untersucht wurden dabei verschiedene Abwasserrohr- und Abschottungssysteme. Aus Sicht der IZEG wurden dabei Sicherheitslücken aufgedeckt. Laut IZEG konnten alle geprüften brennbaren Systeme den Raumabschluss nach unten im Brandfall nicht länger als 31 min aufrechterhalten. Nur das gusseiserne Abwasserrohrsystem konnte den Raumabschluss vollständig erhalten.

Was bei den Ergebnissen zu beachten ist: Der Versuchsaufbau entsprach nicht dem Prüfaufbau, der für die Wirksamkeit von Abschottungsmaßnahmen zum Erteilen einer allgemeinen Bauartgenehmigung (aBG) bzw. einer allgemeinen bauaufsichtlichen Zulassung für Bauprodukte (abZ) verwendet wird. Im Rahmen des IZEG-Brandversuchs wurde also nicht die Wirkung erfolgreich geprüfter Brandschutzmaßnahmen bei dem zugrunde gelegten Prüfaufbau widerlegt, sondern Gefahren bei einem abweichenden Versuchsaufbau aufgezeigt. Es geht also in erster Linie um den Prüfaufbau.

Hier setzt auch die Kritik des IZEG an: „Die Ausbreitung von Feuer und Rauch auf anliegende Stockwerke soll durch einen sogenannten Raumabschluss verhindert werden. In Deutschland regeln Bauvorschriften, wie lange in einem Brandfall der Raumabschluss zu angrenzenden Räumen gewährleistet sein muss. Allerdings sind die aktuell gültigen Prüfnormen unzureichend, sie testen die Brandsicherheit von Abwasserrohren nur nach oben [Anmerkung der Redaktion: Getestet wird auch seitlich durch Wände.].“ Das ist nach Auffassung des IZEG ein gefährliches Versäumnis: „Bei einem Brand können lebensgefährliche Risiken und Gefahren in alle Richtungen, also nach oben und unten, entstehen.“

Die MPA Braunschweig und auch das Deutsche Institut für Bautechnik (DIBt) haben eine Stellungnahme zu dem Versuch, zu eventuell kurz-, mittel oder langfristig erforderlichen Konsequenzen oder aktuellen Empfehlungen für Planer und Anwender abgelehnt. Während die MPA Braunschweig „grundsätzlich keine Auskunft an die Presse gibt“, hat das DIBt mitgeteilt, dass eine Beurteilung der Ergebnisse aus dem Brandversuch durch den zuständigen Sachverständigenausschuss noch aussteht.

Da Planer und Anwender laufende Projekte nicht einfach aufschieben können und potenziell Gefahr laufen, dass ihre Werkleistungen später nicht abnahmefähig sind, haben wir die Freien Sachverständigen für Brandschutz Gerhard Lorbeer und Karl-Heinz Brandenburg um eine erste Bewertung gebeten.
 

Oft wird vergessen, dass im Brandschutz bei der Planung und Ausführung nicht (nur) Bauprodukte zu planen und einzubauen sind, sondern vorrangig definierte Schutzziele mit ihren Anforderungen eingehalten werden müssen. Die Schutzziele sind in der MBO (Musterbauordnung) – die abschließend von der Bauministerkonferenz beschlossen / durch Änderungen an neue Erkenntnisse oder Rahmenbedingen angepasst wird – und auf dieser Basis in den Landesbauordnungen verbindlich festgelegt.

Der Grundsatzparagraph § 14 „Brandschutz“ der MBO (zuletzt geändert am 27. September 2019) konkretisiert für die in § 3 MBO genannten allgemeinen Anforderungen das Schutzziel des Brandschutzes:

„Bauliche Anlagen sind so anzuordnen, zu errichten, zu ändern und instand zu halten, dass der Entstehung eines Brandes und der Ausbreitung von Feuer und Rauch (Brandausbreitung) vorgebeugt wird und bei einem Brand die Rettung von Menschen und Tieren sowie wirksame Löscharbeiten möglich sind.“

Die weiteren Konkretisierungen gelten absolut, das Abschottungsprinzip (Raumabschluss) kennt keine Richtungsunterschiede.

§ 30 Abs. 1 MBO „Brandwände“: „Brandwände müssen als raumabschließende Bauteile zum Abschluss von Gebäuden (Gebäudeabschlusswand) oder zur Unterteilung von Gebäuden in Brandabschnitte (innere Brandwand) ausreichend lang die Brandausbreitung auf andere Gebäude oder Brandabschnitte verhindern.“

§ 31 Abs. 1 Satz 1 MBO „Decken“: „Decken müssen als tragende und raumabschließende Bauteile zwischen Geschossen im Brandfall ausreichend lang standsicher und widerstandsfähig gegen die Brandausbreitung sein.“

§ 40 Abs. 1 MBO „Leitungsanlagen, Installationsschächte und -kanäle“: „Leitungen dürfen durch raumabschließende Bauteile, für die eine Feuerwiderstandsfähigkeit vorgeschrieben ist, nur hindurchgeführt werden, wenn eine Brandausbreitung ausreichend lang nicht zu befürchten ist oder Vorkehrungen hiergegen getroffen sind; [dies gilt nicht …].“

Hier ist das Abschottungsprinzip verankert. In jedem Fall ist eine Brandausbreitung ausreichend lang zu verhindern. Eine Richtungsunterscheidung wird hier nicht vorgenommen. Die Aussage gilt für das Verhindern einer Brandausbreitung nach unten, zur Seite und nach oben (Bild 1).

Bei Rohrleitungen und anderen Leitungssystemen, die durch raumabschließende Bauteile geführt werden müssen, bedienen sich Planer und Installateure geprüfter Lösungen oder Ausführungen nach Richtlinien, die offiziell der Umsetzung der MBO / der Landbauordnungen dienen. Wird der Brandschutz durch Abschottungen erzeugt, so sind Nachweise für die Funktion erforderlich. Das sind dann im täglichen Sprachgebrauch „Zulassungen“. Letztendlich sind jedoch Planer und Anwender an die Einhaltung der Schutzziele – und damit an die fachliche Beurteilung für die Eignung zum Gewährleisten der Schutzziele – gebunden.

Zulässige Abschottungen / Nachweise

Rohrleitungen erstrecken sich über alle Stockwerke eines Gebäudes. Damit werden raumabschließende Bauteile mit einer Vielzahl an Leitungen auch größerer Durchmesser durchdrungen. Abschottungsmaßnahmen an Rohrdurchführungen müssen auf Wirksamkeit geprüft sein. In Verwendbarkeitsnachweisen werden die Abschottungsprodukte und in den Anwendbarkeitsnachweisen der Einbau beschrieben.

Beispiele für Verwendbarkeitsnachweise (Produktbeschreibung, Nachweis für die Verwendung eines Bauproduktes) und Anwendbarkeitsnachweise (Nachweis für die Anwendung, Ausführung der Bauart) sind:

● aBG allgemeine Bauartgenehmigung (für Bauarten)

● abZ allgemeine bauaufsichtliche Zulassung (für Bauprodukte)

● abZ allgemeine bauaufsichtliche Zulassung (bisher; für Bauprodukt und Bauart)

● ETA europäische technische Bewertung (für ein Bauprodukt)

Um vom DIBt für die Abschottung von Kunststoffrohren zur Hausentwässerung einen Anwendbarkeitsnachweis (aBG) zu erhalten, muss derzeit bei Wänden die wirksame Abschottung von beiden Seiten, bei Deckendurchführungen nur von unten durch Brandprüfungen nachgewiesen werden (Bild 2).

Bild 2 Aktueller Systemaufbau (Prinzip) für Wand- und Deckenprüfungen.

Lorbeer    

Bild 2 Aktueller Systemaufbau (Prinzip) für Wand- und Deckenprüfungen.

Im Brandraum wird mit einem definierten Temperatur- und Brandverlauf bis ca. 1000 °C geprüft. (Einheitstemperaturzeitkurve, ETK). Außerhalb des Brandraums darf an keiner der definierten Stellen eine Temperaturerhöhung von mehr als 180 °C und im Mittel nicht mehr als 140 °C auftreten. Bei Wandprüfungen werden meist an beiden Seiten die gleichen Abschottungsmaßnahmen geprüft, um damit einen Brandereignis von beiden Seiten nachzuweisen. Bei Deckenprüfungen wird nur der Brand von unten nach oben bewertet.

Das Prinzip hat auch Jahrzehnte funktioniert bzw. die Baupraxis abgebildet. Ausgehend von dem Gedanken, dass bei einer Deckendurchführung im Brandfall die größte Wärme an der Decke vorherrscht, war die Fokussierung auf „von unten nach oben“ bei nicht brennbaren Leitungen auch logisch nachvollziehbar. Da das nichtbrennbare Rohr im Deckendurchbruch verbleibt, wurde der Wärmeübertrag durch das Material als wesentlicher Einflussfaktor für die Temperaturen oberhalb der Decke bewertet.

Mit der Einführung von Kunststoffrohren in der Hausentwässerung wurde die Logik für nichtbrennbare Rohre beibehalten. Allerdings änderte sich mit brennbaren Rohren die physikalische Ausgangssituation. Da das Rohr im Brandfall wegschmilzt, wird die Abschottungswirkung durch eine Brandschutzmanschette mit integriertem intumeszenten1) Baustoff hergestellt: Nach dem Erreichen seiner Aktivierungstemperatur drückt der intumeszente Baustoff das (durch die Wärmeeinwirkung erweichte) Rohr zusammen und verschließt die Bauteilöffnung.

1)…………
Intumeszenz bezeichnet eine Ausdehnung oder eine Anschwellung, also eine Volumenzunahme eines festen Körpers ohne chemische Umwandlung. Beim Brandschutz bezeichnet Intumeszenz das zweckdienliche Schwellen bzw. Aufschäumen von Materialien.
…………..

Bild 3 zeigt, dass die Brandprüfung von Kunststoffrohren die Ausführung (Installation) abdecken soll. Im Brandfall verschließt die Brandschutzmanschette das wegschmelzende Rohr an der oberen Decke. Der Brand bzw. die Brandweiterleitung nach unten wird nicht geprüft.

Bild 3 Abschottung Hausentwässerung: Kunststoffrohr und Gussrohr.

Lorbeer

Bild 3 Abschottung Hausentwässerung: Kunststoffrohr und Gussrohr.

Bei Gussrohren verschließt der hier exemplarisch gezeigte Brandschutzverbinder den Rohrquerschnitt im Strang. Das Strangrohr bleibt erhalten, angeschlossene Kunststoffrohre oder brennbare Objektanschlüsse brennen (im Brandraum) weg. Es können im Brandraum keine heißen Rauchgase in das Rohr gelangen und oberhalb der Decke werden unzulässige Temperaturen verhindert.

Was in den letzten Jahren besondere Aufmerksamkeit erregt hat, ist die Tatsache, dass durch herabfallendes brennendes Material eine Brandweiterleitung nach unten möglich ist. Gegenüber den früheren Bauweisen, in denen die Mehrzahl der Rohrleitungen in eine Massivbauweise (im heutigen Sprachgebrauch Nassbauweise) eingebunden war, sind heutige Bauweisen aufgrund der schalltechnischen Vorteile und einem schnelleren Bauprozess durch den Leichtbau (Trockenbau, Vorwandtechnik) geprägt. Beim Brandschutz und der Brandausbreitung nach unten existiert für diese Bauweise Diskussionsbedarf, zumal die heute vorhandenen Brandlasten in den Gebäuden keine Kompromisse zulassen.

Brandweiterleitung nach unten bei Deckenabschottungen

Bei einem Brandereignis brennen Kunststoffmaterialen weg. Brennend abtropfendes Rohrmaterial, das auch innerhalb des Rohres herabfällt, kann im unteren Bogen am Fuß der Fallleitung einen Durchbrand verursachen (Bild 4).

Aus eigener Anschauung kann das bestätigt werden. In einem Feldversuch wurden unter normalen Abschottungsbedingungen (Raumhöhe, Deckenverguss, Brandschutzmanschette unterhalb der Decke) bei Rohrleitungen derartige Fälle beobachtet. Der Feldversuch erfolgt allerdings nicht unter Einhaltung der üblichen Prüfbedingungen (Einheitstemperaturkurve) für Abschottungen. Unter Prüfbedingungen wurden aber auch schon vor bald 17 Jahren Brandversuche durchgeführt, bei denen der gleiche Effekt festgestellt wurde [1].

Bild 4 Brandweiterleitung durch abtropfendes Material. A: Brennbare Abwasserleitung mit Brandschutzmanschetten unterhalb der Decke zur Abschottung. B: Im Brandfall schließt durch die Temperatur die an der Decke befindliche Brandschutzmanschette. Der Durchtritt von Feuer und Rauch nach oben wird dadurch unterbunden. Brennendes Material tropft aber durch das Rohr in das darunterliegende Stockwerk. Die an der Deckenunterseite befestigte Brandschutzmanschette reagiert durch die fehlende Aktivierungstemperatur zu diesem Zeitpunkt nicht. C: Die Brandausbreitung nach unten kann durch im Brandfall abtropfendes brennendes Material innerhalb einer Rohrleitung oder durch nicht ordnungsgemäße Deckenverschlüsse verursacht werden. Das Material fällt in den unteren Bogen, brennt durch und entzündet weiteres brennbares Material in diesem Stockwerk.

Lorbeer

Bild 4 Brandweiterleitung durch abtropfendes Material.
A: Brennbare Abwasserleitung mit Brandschutzmanschetten unterhalb der Decke zur Abschottung.
B: Im Brandfall schließt durch die Temperatur die an der Decke befindliche Brandschutzmanschette. Der Durchtritt von Feuer und Rauch nach oben wird dadurch unterbunden. Brennendes Material tropft aber durch das Rohr in das darunterliegende Stockwerk. Die an der Deckenunterseite befestigte Brandschutzmanschette reagiert durch die fehlende Aktivierungstemperatur zu diesem Zeitpunkt nicht.
C: Die Brandausbreitung nach unten kann durch im Brandfall abtropfendes brennendes Material innerhalb einer Rohrleitung oder durch nicht ordnungsgemäße Deckenverschlüsse verursacht werden. Das Material fällt in den unteren Bogen, brennt durch und entzündet weiteres brennbares Material in diesem Stockwerk.

Umgang, Lösungen, Erwartungen

Die Verunsicherung über das Risiko einer Brandübertragung nach unten ist unübersehbar. Die Meinungen dazu gehen auseinander:

Verharmlosend wird argumentiert, dass dieses Risiko als nicht so hoch anzusehen ist. Dagegen spricht, dass eine Brandausbreitung nach unten genauso wie der Branddurchtritt nach oben zu bewerten ist. Warum das Risiko einer Brandausbreitung nach unten geringer oder sogar gegenüber einer Brandausbreitung nach oben zu vernachlässigen ist, wird nicht konkretisiert.

Ein weiterer Argumentationsversuch ist in der MVV TB 2020/1 [2] enthalten. Gegenüber der vorherigen Fassung sind hier Hinweise zu finden, die den formalistischen Umgang auslegen sollen. A 2.1.2 beschreibt Anforderungen an das Brandverhalten von Teilen baulicher Anlagen. Unter A 2.1.2.1 „Allgemeines“ heißt es: „Bei baulichen Anlagen oder Teilen von baulichen Anlagen, bei denen die Anforderungen nichtbrennbar oder schwerentflammbar gestellt werden, ist sicherzustellen, dass es nicht durch unbemerktes fortschreitendes Glimmen und / oder Schwelen zu einer Brandausbreitung kommen kann.“

A 2.1.3.3 beschreibt die Anforderungen an den Raumabschluss im Brandfall. Unter A 2.1.3.3.1 „Allgemeines“ heißt es:

„Teile baulicher Anlagen sind raumabschließend feuerwiderstandsfähig, wenn sie dauerhaft mindestens für eine bestimmte, nachfolgend angegebene Zeitdauer die Brandausbreitung verhindern, der Raumabschluss auch im Bereich von Verbindungen und Anschlüssen zu angrenzenden Teilen baulicher Anlagen nicht beeinträchtigt ist und wenn auf der brandabgewandten Seite keine wesentliche Rauchentwicklung und kein wesentliches Abfallen oder Abtropfen von Bestandteilen zu verzeichnen ist. Ein wesentliches Abfallen oder Abtropfen von Bestandteilen auf der feuerabgewandten Seite ist nicht gegeben, wenn die Größe dieser Bestandteile jeweils 10 cm Länge oder Breite nicht überschreitet. Ein explosionsartiges Abplatzen dieser Bestandteile darf nicht auftreten.

Gleiches gilt auch für Abschlüsse und sonstige Verschlüsse von Öffnungen.

Soweit nichts anderes bestimmt ist, bezieht sich die Feuerwiderstandsfähigkeit auf jede der möglichen Brandeinwirkungsrichtungen (z. B. sowohl von innen nach außen als auch von außen nach innen sowie sowohl von oben nach unten als auch von unten nach oben).“

Hier wird also formal zwischen wesentlichem und nicht wesentlichem Abfallen oder Abtropfen unterschieden. Für den Baubeteiligten ist das unbefriedigend. Es ist letztlich gleich, ob ein Brand durch permanentes brennendes Abtropfen oder ein brennend abfallendes Teil hervorgerufen wird. Schutzziel ist, eine Brandausbreitung und eine Brandentstehung zu verhindern. Dabei ist es unerheblich, ob eine Schutzzielverletzung durch wesentliches oder nicht wesentliches Abtropfen entsteht.

Ferner wird nicht ausgesagt, wie die Brandweiterleitung nach unten bei den verschiedenen Materialien und Dimensionen hervorgerufen wird. Bei kleineren Dimensionen kann durchaus eine Vielzahl einzelner brennender Materialtropfen eine Brandweiterleitung ausmachen. Aus Brandversuchen ist ersichtlich, dass sich abtropfendes Material sammelt und dann weiterbrennt. Bei größeren Dimensionen, da der Rohrquerschnitt nach unten hin offen ist, können auch größere Materialteile nach unten durchfallen. Ob einzelne brennende Abtropfungen oder ein größeres abfallendes Materialstück Ursache für eine Brandweiterleitung oder einer Brandentstehung sind, steht im Widerspruch zu den erklärten Schutzzielen, dass auch der Ausbreitung von Feuer und Rauch (Brandausbreitung) vorgebeugt werden muss.

Da die Brandweiterleitung bei Bauarten nach oben oder bei der Wand bei jetzigen Brandprüfungen Genauigkeiten einfordert, die auf Sekunde und Temperaturgrad ausgerichtet sind – und bei der jede nur erdenkliche Möglichkeit, ob nicht doch ein Risiko besteht, erörtert wird – ist dies nicht im Einklang mit der pauschalierten Einordnung von wesentlichem oder nicht wesentlichem Abtropfen.

Es sind hierzu eigentlich die gleichen Kriterien bezüglich der geforderten Temperatur wie bei den bisherigen Wand- und Deckenprüfungen anzuwenden. Zumal hierfür Möglichkeiten der Prüfung vorhanden sind.

Hinweis: Der Sachverhalt ist vorab mit dem Prüfsachverständigen für Brandschutz abzustimmen. Lösungen, die bereits geprüft wurden und auch solche die (nur) noch den Nachweis erbringen müssen, gibt es.

Lösungsansätze und Lösungen

Die offensichtliche Frage ist, ob eine (zusätzlich) oberhalb der Decke eingebaute Brandschutzmanschette die Weiterleitung nach unten verhindern kann. Im Prinzip wäre wie bei einer Wandabschottung auf beiden Seiten einer Decke eine Brandschutzmanschette angeordnet.

Die thermischen Abläufe der Abschottung während des Brandfalles sind wegen der Temperaturschichtung im Brandraum an der Decke und auf dem Boden unterschiedlich zu bewerten. Am Boden des Brandraums herrschen geringere Temperaturen als an der Decke. Gleiches gilt für die im Brandraum vorherrschenden Drücke. Mutmaßlich schmilzt und brennt das Rohr im oberen Bereich bereits weg, bevor eine am Boden angeordnete Manschette reagieren kann. Die Konstruktion der Manschette und die Reaktionstemperaturen des Brandschutzmaterials müssen gegebenenfalls auf die Anordnungsvariante angepasst werden.

Eine weitere Lösung wäre, dass das Material der Kunststoffrohre selbst durch flammhemmende Zusätze so verändert wird, dass ein brennendes Abtropfen nicht mehr erfolgt. Dann würden zumindest keine brennbaren abfallenden Rohrbestandteile aus dem Brandraum in das unterhalb befindliche Rohr gelangen. So könnten z. B. Rohre, denen nach europäischer Klassifizierung kein brennendes Abtropfen / Abfallen innerhalb von 600 s bestätigt wird (DIN EN 13 501-1 Klassifizierung von Bauprodukten und Bauarten zu ihrem Brandverhalten), eine praktikable Lösung sein, wenn diese Einstufung durch eine reale Brandprüfung für Bauarten bestätigt werden kann. Ob diese Lösung aus Sicht von Umweltschutz und Recyclingfähigkeit anzustreben ist, wäre zumindest zu diskutieren.

Eine pragmatische Lösung wäre die gezielte Anordnung nicht brennbarer Leitungsteile. Im Brandfall würde abtropfendes Material nicht in das Kunststoffrohr gelangen und dort an der Richtungsänderung keinen Durchbrand bewirken können. Das Material würde in das nicht brennbare Rohr gelangen und kann dort gezielt im Rohr abbrennen.

Bild 5 Lösungsansatz mit gezielter Materialauswahl.

Lorbeer

Bild 5 Lösungsansatz mit gezielter Materialauswahl.

Bild 5 zeigt die Auswirkung, wenn brennendes Material durch das Rohr in das darunterliegende Stockwerk tropft. Die an der Decke befestigte Manschette reagiert nicht rechtzeitig. Das brennende Material fällt in den unteren Bogen, brennt durch und entzündet weiteres brennbares Material in dem Stockwerk. Wird die untere Richtungsänderung beispielsweise mit nichtbrennbarem Gussrohr ausgeführt, brennt zwar das abgetropfte brennbare Material im Rohr weiter, kann aber nicht durchbrennen.

Nachteile dieser Lösung sind die im Baualltag bestehenden vielfältigen Bauaufgaben, die derartige Rohrführungen teilweise ausschließen. Bei geringen Richtungsänderungen im Strangverlauf wird eine solche Lösung nur bedingt funktionieren. Ob bei einem senkrechten Strang auch Abzweige eine Gefährdung bedeuten, wäre zu prüfen. Wahrscheinlich ist eine Dämmung des Gussrohres notwendig, um die Temperaturbedingungen auf der brandabgewandten Seite einzuhalten.

Bild 6 „Brandkammer“ unter der Decke aus Europäischer Patentanmeldung EP 1 964 592 A1 durch Bernd Ishorst, Anmeldung am 22. Februar 2008.

Bernd Ishorst, aus EP 1 964 592 A1

Bild 6 „Brandkammer“ unter der Decke aus Europäischer Patentanmeldung EP 1 964 592 A1 durch Bernd Ishorst, Anmeldung am 22. Februar 2008.

Für eine seit langem bekannte Lösung wurde ein europäisches Patent angemeldet [3]. Hier wird unterhalb der Decke eine Kammer ausgebildet, durch die das Kunststoffrohr verläuft Bild 6. Die Richtungsänderung muss in dieser Kammer angeordnet werden. Damit wird ein eigener Brandabschnitt gebildet. Fällt brennendes Material in das Rohr in das darunterliegende Stockwerk, brennt der Bogen zwar durch, damit werden aber auch die Brandschutzeinrichtungen ausgelöst. Durch die Anordnung zweier Brandschutzvorrichtungen wird der Branddurchtritt in das Stockwerk verhindert. Ob diese Lösung geprüft wurde, ist nicht bekannt.

Eine weitere Lösung ist 2019 geprüft worden. Bei einem Brandversuch wurden „normale Brandschutzmanschetten“ unterhalb der Decke eingebaut. Oberhalb der Decke wurde eine Brandschutzmaßnahme mit im Brandfall aufschäumendem Baustoff angeordnet. Die Prüfung erfolgte über 120 min, ohne dass im Beobachtungsraum 2 ein Durchbrennen zu verzeichnen war (Bild 7, rechts). Die Temperaturmessungen im Beobachtungsraum 1 und 2 waren durchweg im unkritischen Bereich. Eine Brandweiterleitung oder abfallendes brennendes Material im Fußbogen wurden nicht beobachtet. Die an der unteren Decke unterhalb und oberhalb angebrachten Brandschutzmaßnahmen haben den Rohrquerschnitt sicher verschlossen.

Bild 7 Brandprüfung Decke 120 min, Kunststoffrohr (PP), für Brandrichtung nach oben und nach unten.

UBA Tec

Bild 7 Brandprüfung Decke 120 min, Kunststoffrohr (PP), für Brandrichtung nach oben und nach unten.

Bei einer Brandprüfung Decke besteht die heutige Prüfanforderung aus einer in die Decke des Brandofens eingebauten Bauart (Bild 7, links). Die Richtung der Brandprüfung wird nur nach oben gemessen. Bei der Prüfung nach beiden Richtungen ist ein praxisnaher Aufbau notwendig. Dabei wird über drei Stockwerke geprüft und die Prüfung über zwei Decken vorgenommen. Die Temperaturerhöhung darf im Beobachtungsraum 1 und 2 die geforderten 180 K nicht übersteigen. Das ist ein realistischer Aufbau für einen Brandversuch, der dem im Bild 1 dargestellten Abschottungsprinzip an Decken entspricht. 

Schlussfolgerungen

Planer und Anwender notwendiger Rohrabschottungen sind zur Realisierung der Schutzziele verpflichtet. Die Möglichkeit einer Brandweiterleitung einiger Hausentwässerungssysteme aus Kunststoff nach unten ist Realität und deshalb zu beachten. Derzeit gibt es dazu keine geprüften Aussagen in Form von Anwendbarkeitsnachweisen.

Die formale Begründung aus der MVV TB steht im Widerspruch zu realen Ereignissen und im Widerspruch zu den geforderten Schutzzielen. Prüfungen zur Vermeidung eines Branddurchtritts bei einer Abschottung müssen in alle Richtungen die gleichen Kriterien erfüllen.

Die Verharmlosung eines Risikos ist die einfachste aber auch gefährlichste Vorgehensweise. Unabhängig von der Häufigkeit eines solchen Risikos ist eine derartige Brandweiterleitung genauso möglich, und deshalb wie bei allen anderen Varianten der durch Zulassungen abgesicherten Abschottungen in Betracht zu ziehen. Es gibt keine zulässige Unterscheidung in gefährliche oder ungefährliche Brandweiterleitung.

Im Brandschutzkonzept ist das Risiko als Gefährdungspotenzial abzuschätzen und ggf. zu berücksichtigen. Zur eigenen Sicherheit für den Planer und Ausführenden sollte der Sachverhalt mit dem Prüfsachverständigen für Brandschutz immer vorab abgestimmt werden.

Da es keine Vorschriften für die Prüfung einer Brandweiterleitung von oben nach unten gibt, kann dies auch nicht verglichen, geprüft und detailliert bewertet werden. Das Fehlen der Prüfvorschriften ist auch nachvollziehbar, da das Verhalten der unterschiedlichen Materialien in Verbindung mit verschiedensten Bausituationen bewertet werden muss.

Aber: Prüfungen sind möglich. Prüfvoraussetzungen sind vorhanden. Lösungen sind vorhanden. Und geprüfte Lösungen sind vorhanden.

Sind Schutzziele einzuhalten, ist auch der Branddurchtritt nach unten bei der Planung und Ausführung von Rohrabschottungen zu berücksichtigen. Planer und Anwender sollten sich zu ihrer eigenen Absicherung die Eignung und Anwendung eines Systems auch unter dem Gesichtspunkt der MBO § 14 vom Hersteller bestätigen lassen. Schutzziel ist die Vermeidung der Brandausbreitung – nach unten, oben und zur Seite.

Der Hersteller von Rohrleitungssystemen oder Brandschutzabschottungen können im Übrigen in der Regel Auskunft geben, ob eine Sicherheit gegen eine Brandausbreitung nach unten gegeben ist. Spätestens seit dem orientierenden IZEG-Brandversuch 2004 gibt es solche Versuche. Planer und Ausführende sollten diese Frage stellen.

Fachberichte mit ähnlichen Themen bündelt das TGAdossier Brandschutz

Literatur

[1] Ishorst, Bernd. SuS Report, 01-2005

[2] Muster-Verwaltungsvorschrift Technische Baubestimmungen (MVV TB). Berlin: Deutsches Institut für Bautechnik (Hausgeber), Ausgabe 2020/1, 19. Januar 2021

[3] Europäische Patentanmeldung EP 1 964 592 A1 durch Bernd Ishorst

 

Karl-Heinz Brandenburg
ist seit 1988 in der Sanitärtechnik und angrenzenden Bereichen als Planerberater sowie Regionalleiter in der Industrie tätig. Derzeit ist er Freier Sachverständiger BVFS, Fachlehrer am Oberstufenzentrum Gebäude-Umwelt-Technik, Berlin, Fachdozent in der Meisterausbildung der Innung SHK Berlin und der HWK Berlin, Lehrbeauftragter der Beuth-Hochschule für Technik Berlin und Mitglied des Normausschusses „Entwässerungsanlagen für Gebäude und Grundstücke“ im DIN.

Gerhard Lorbeer
ist freiberuflicher Ingenieur und seit 2007 Freier Sachverständiger für Wärme-, Feuchte-, Schall- und Brandschutz. Zu seinen beruflichen Tätigkeiten gehören Planung, Forschung und Entwicklung sowie Management in der Industrie. Zudem ist er Dozent, Fachautor und Mitglied mehrerer Normenausschüsse.

GV

Kommentar

Dann bricht ein gelebtes Prinzip zusammen!

Ich bin mir ziemlich sicher: Gerhard Lorbeer und Karl-Heinz Brandenburg liegen richtig. Brandschutz muss in alle Richtungen funktionieren. Andernfalls muss das Baurecht angepasst werden. Unschön ist allerdings, wie das IZEG auf das Defizit hinweist: Ohne dafür Sorge zu tragen, dass die Branche am Tag 1 damit umgehen kann. Besorgte Eile kann nicht die Triebfeder gewesen sein. Denn bereits 2004 hat das IZEG bei einem orientierenden Brandversuch festgestellt, was nun erneut bestätigt wurde: Innerhalb von Kunststoffrohren brennend abtropfendes Material kann zu einer Brandweiterleitung nach unten führen. Unter der Untergeschossdecke angebrachte Brandschutzmanschetten können dies nicht verhindern.

Sie können dies nicht verhindern, weil sie für diesen Fall nicht konstruiert sind. Und sie sind für diesen Fall nicht konstruiert, weil die Prüfbestimmungen diesen Fall nicht abdecken. Und die Prüfbestimmungen decken diesen Fall nicht ab, weil … Ja, warum eigentlich nicht? Kann es sein, dass das IZEG vor bald 17 Jahren auf ein Problem aufmerksam gemacht hat und seitdem wenig passiert ist? Oder ist es nur ein konstruiertes Problem, mit dem das IZEG Werbung für die Lösungen ihrer Mitglieder macht, das aber in der Praxis nicht relevant ist?

Statt aufklärend ist die Rolle des Deutschen Instituts für Bautechnik (DIBt) in dieser Sache verstörend. Planer und Ausführende müssen quasi jeden Tag die Wirksamkeit von Brandschutzmaßnahmen bewerten und am Ende verantworten – und das DIBt kann für einen an einer Prüfanstalt durchgeführten Brandversuch auch nach zwei Wochen (oder 17 Jahren) keine Bewertung abgeben?

Das eigentliche Drama ist: Wenn die Prüfkriterien auf Basis des IZEG-Brandversuchs angepasst werden (müssen), bricht ein gelebtes Prinzip zusammen. Es würde bedeuten, dass allgemeine bauaufsichtliche Zulassungen und allgemeine Bauartgenehmigungen zwar baurechtlich notwendig sind, aber selbst bei einfachsten Standard-Bauaufgaben nicht gewährleisten, dass damit rechtlich verbindliche Schutzziele gewährleistet werden.

Jochen Vorländer, Chefredakteur TGA Fachplaner