Springe auf Hauptinhalt Springe auf Hauptmenü Springe auf SiteSearch
Fußbodenheizung

Einsparungen durch Nachrüstung von Einzelraumregelsystemen

In den Rechtsverordnungen zum Gesetz zur Einsparung von Energie in Gebäuden (EnEG, 1976, 1980) wurde die raumweise Temperaturregelung von Pumpen-Warmwasserheizungen gefordert. Für Heizkörper gilt zudem die Forderung der Nachrüstung von Heizungsanlagen. Für Fußbodenheizungen wurde erst ab der Heizungsanlagenverordnung (HeizAnlV, 1994) die raumweise Temperaturregelung gefordert.

Von 1989 bis 2003 wurden 5,62 Mio. Wohneinheiten (WE) fertiggestellt, davon ca. 2,8 Mio. WE in Einfamilienhäusern (EFH) und Zweifamilienhäusern (ZFH) und 1,2 Mio. eigen­tümergenutzte WE in Mehrfamilienhäusern (MFH) [1]. Hieraus ­ergibt sich konservativ abgeschätzt ein Potenzial von rund 2 Mio. Wohneinheiten mit Warm­wasser-Fußbodenheizungen [2]. Summarisch ergibt sich ein Potenzial von etwa 1 Mio. Warmwasser-Fußbodenheizungsanlagen für die Nachrüstung mit raumweisen Tempera­turreglern.

Im Auftrag des Bundesverbandes Flächenheizungen und Flächenkühlungen e.V. (BVF) wurden an der Technischen Universität Dresden die energetischen Einsparpotenziale von Einzelraumregelungen für Flächenheizungen ermittelt [3]. Ziel der Untersuchungen war dabei die Charakterisierung der Einsparpotenziale mit Einzelraumregelverfahren im Vergleich zu Systemen, die raumseitig nicht geregelt sind. Die Untersuchungen wurden an ­einem typischen Einfamilienhaus vorgenommen. Als System wurde bei den Untersuchungen eine nassverlegte Fußbodenheizung nach DIN EN 1264 [4] verwendet (16 mm Rohr plus 45 mm Estrichüberdeckung mittels Zementestrich). Das Wärmeschutzniveau des Gebäudes orientiert sich an den Verhältnissen der Wärmeschutzverordnung (WSVO, 1977) [5].

Untersuchung

Für das zentrale Betriebsregime der Anlage wurden zwei Szenarien betrachtet:

  • Durchgehender Heizbetrieb über die gesamte Heizperiode ohne zentrale und dezentrale ­Absenkung.
  • Abgesenkter Heizbetrieb jeweils in der Zeit von 23.00 bis 5.00 Uhr.

Auf zentraler Seite (beim Wärmeerzeuger) erfolgte eine witterungsgeführte Vorlauftemperatursteuerung entsprechend der Heizkurve. Betrachtet wurden dezentral die Raumtemperaturregelung mittels Zweipunktregler sowie ungeregelte Anlagen. Folgende Parameter wurden für diese Varianten verwendet:

Anlagenparameter:

  • Fußbodenheizung: nach DIN EN 1264 (System A / Nasssystem) [4]
  • Stellantriebe: thermoelektrisch, 180 s Zeitkonstante
  • Zweipunktregler Schaltdifferenz: Xsd = 0,5 K
  • ungeregeltes System: raumseitige Einstellung des Normmassestroms
  • Vorlauftemperatur: witterungsgeführt nach Heizkurve
  • Solltemperaturen: ϑop; soll = 20 °C (normale Räume); ϑop; soll = 24 °C (Bad)
  • Auslegungstemperaturniveau: ϑV R i = 50/40/20 °C

Nutzungsparameter:

  • Absenkphasen, zentral: 23.00 bis 5.00 Uhr
  • Aufheizphase, zentral: 5.00 bis 7.00 Uhr
  • Absenkphasen, dezentral: keine

Modellierung

Analysesoftware

Im Rahmen der Untersuchungen kam das thermische Gebäudesimulationsprogramm TRNSYS [6] zur Anwendung. TRNSYS steht für „A Transient System Simulation Program“ und wurde in den 1970er-Jahren an der Universität von Wisconsin, Madison (USA) entwickelt. Details sind in [3] umfassend beschrieben. Das Gebäudemodell wurde am Institut für Thermodynamik und TGA sowie am Institut für Energietechnik der TU Dresden stark erweitert und verbessert. Im Rahmen der IEA Task 22 [7] sowie in [8], [9] und [10] wurden die eingesetzten Module umfassend erweitert und validiert.

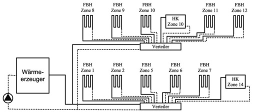
Heizungsnetz

In Bezug auf das heizungstechnische Netz ist es ebenfalls notwendig, den Berechnungen eine repräsentative Struktur zugrunde zu legen. Bei den Untersuchungen mit Flächenheizungen kam eine sternförmige Verlegung nach Bild 2 zur Anwendung. Innerhalb des Netzes werden die Zone 14 (Keller-Flur) sowie die Zone 10 (Bad) mit einer freien Heizfläche versorgt. Dies war notwendig, da hier mit einer Fußbodenheizung die erforderliche Heizlast aufgrund eingeschränkter Flächennutzung nicht gedeckt werden kann. Alle betrachteten Verlegungsarten wurden einem vollständigen hydraulischen Abgleich unterzogen. Die Dimensionierung der Heizkörper wie auch der Fußbodenheizung erfolgte mit einem Zuschlag von 15 % in den Funk­tionsräumen. Im Bad sowie im Keller (Aufgang) wurde eine 50%ige Überdimensionierung der ­örtlichen Wärmeübertrager vorgesehen.

Randbedingungen

Als Eingangsdaten für die äußeren thermischen Randbedingungen fanden Wetterdaten entsprechend der Spezifikation in [11] Anwendungen. Konkret verwendet wurde der Datensatz für das Testreferenzjahr 04 (TRY-04), welches für das „Nordostdeutsche Tiefland“ steht. Sämtliche im TRY-04 hinterlegten Daten sind berechnete Werte, deren Ursprung in einer großen Anzahl verschiedener Messdaten liegt. Um abschätzen zu können, wie stark diese Daten von Werten lokaler Wetterstationen abweichen, sind in Bild 3 ausgewählte Daten des TRY-04 denen der Wetterstation Potsdam (30-jähriges Mittel) gegenübergestellt. Die Graphen lassen erkennen, dass eine hohe Übereinstimmung vorliegt. Aufbauend auf den Wetterdaten des TRY-04 [11] wurde die untersuchte ­Bilanzperiode ausgewählt. Grundlage des Auswahlverfahrens bildete die mittlere Tagestemperatur nach [12]. Die Heizperiode wurde durch eine an drei aufeinander folgenden Tagen überschrittene mittlere Tagestemperatur von ϑ a = 15 °C begrenzt (vgl. [13]). Entsprechend dieser Definition ergab sich eine Heizperiode, wie sie in Bild 4 dargestellt ist.

Modellbeschreibung

Programmintern wurde der eigentlichen Bilanzperiode (Heizperiode) jedoch eine zweimonatige Einschwingphase im Gebäudemodell vorgelagert, um geeignete thermische Startbedingungen in der Umfassungskonstruktion zu erreichen. Als Basis für innere Lasten in den einzelnen Räumen wurden die in Tabelle 1 dokumentierten Werte verwendet. Nachgebildet wurde ein typischer Tagesgang. Die entsprechenden Profile sind in [3] hinterlegt. Vereinbart wurden die beschriebenen inneren Wärmegewinne zu je 50 % als konvektiver Gewinn bzw. zu je 50% als Strahlungsgewinn.

Neben den inneren Gewinnen wurden für die einzelnen Räume auch zeitabhängig verschiedene Luftwechselraten definiert (dokumentiert in [3]). Untersuchungsgegenstand bildete für die Basisvariante ein Nutzungsprofil mit Nachtabsenkung, bei dem in den Funktionsräumen eine Solltemperatur von ϑ op; soll = 20 °C und im Bad von ϑ op; soll = 24 °C angefordert wurde.

Ergebnisse der Analysen

Die energetischen Ergebnisse der Untersuchungen sind Tabelle 2 zu entnehmen. Aufgeteilt sind die Kennwerte dabei, entsprechend der Bedarfskette, in die Wärmeabgabe des Verteilsystems (Q RLu /Q RLb ) 1) , die Wärmabgabe der örtlichen Raumheizflächen (Q FBH /Q HK ) 1) sowie die energetischen Gesamtaufwendungen (Q ges ) 1) . Zusätzlich sind die sich ergebenden energetischen Mehraufwendungen von örtlich ungeregelten Systemen bezogen auf örtlich geregelte Systeme dargestellt. Dabei wurden drei unterschiedliche Ventileinstellungen zur Einstellung des Normmassenstroms bei dem ungeregelten System bewertet.

Die energetischen Kenndaten lassen erkennen, dass zwischen den geregelten und ungeregelten Varianten erhebliche energetische Unterschiede bestehen. Für den intermittierenden Betrieb wurden Differenzen des Heizwärmebedarfs von bis zu 11,6 % ermittelt. Beim durchgängigen Betrieb liegen die entsprechenden Werte bei einem Mehraufwand von 21,0 % im Vergleich zwischen einem ungeregelten zu einem geregelten örtlichen Wärmeeintrag. Zwischen den ungeregelten Varianten bestehen nur geringe energetische Unterschiede, da die Ventile ausreichend groß dimen­sioniert wurden.

Ergänzend zu den energetischen Aussagen sind in Bild 5 sowie in Bild 6 die Mittelwerte der operativen Raumtemperatur für die wichtigsten Nutzungszonen bei intermittierendem Betrieb dokumentiert. Den Kurvenzügen ist zu entnehmen, dass die Sollwerte der operativen Raumtemperaturen in den Hauptnutzungszonen sehr gut eingehalten wurden. Die Werte, bei denen die Anlage nicht mit einer selbsttätigen örtlichen Regeleinrichtung ausgestattet ist, weisen eine um ca. 1,5…2 K höhere operative Raumtemperatur auf. Kritisch stellten sich die Verhältnisse im Bad dar (Bild 6). Hier kann speziell in der Übergangszeit die operative Raumtemperatur von ϑ op = 24 °C nicht gewährleistet werden. Dies ist im Wesentlichen damit zu begründen, dass die verwendete Heizkurve einen Fußpunkt von 20 °C aufweist. Daneben spielten dynamische Aufheizvorgänge sowie interne Wärmeverluste zu den Nachbarräumen eine Rolle.

Die entsprechenden operativen Raumtemperaturen für den durchgängigen Betrieb sind Bild 7 und Bild 8 zu entnehmen. Für die geregelten Varianten in den Zonen mit einer Solltemperatur von 20 °C wurden nahezu identische Verhältnisse ermittelt wie beim intermittierenden Betrieb. Deutlich unterschiedlich ist das Niveau der operativen Raumtemperaturen im ungeregelten Betrieb. Sie lagen um ca. 1,0…1,5 K höher als beim intermittierenden Betrieb. Speziell im Bad wurden hier keine Zeiträume mit einer Sollwertunterschreitung vorausgesagt.

Abschließend zu den operativen Raumtemperaturen sind in Bild 9 und Bild 10 die Summenhäufigkeiten innerhalb der Nutzungszeit für ausgewählte Varianten dargestellt. Für die geregelten Varianten mit einer intermittierenden Betriebsweise ist zu erkennen, dass die Solltemperaturen nicht vollständig eingehalten werden können, was im Wesentlichen auf der Systemträgheit der modellierten Fußbodenheizung beruht. Mit Abschluss der Aufheizphase nach der Nachtabsenkung konnten mit der Fußbodenheizung nicht in allen Räumen die Solltemperaturen erreicht werden. Die Differenzen zum angegebenen Sollwert sind jedoch gering.

Für den vergleichbaren ungeregelten Fall (Bild 10) wiesen die Räume höhere mittlere Raumtemperaturen auf. Behaglichkeitsdefizite sind hier nicht zu erwarten. Die operativen Raumtemperaturen lagen durchschnittlich um mindestens ϑ op = 1 K höher als die operativen Raumtemperaturen der geregelten Variante (Bild 9). Abschließend sind in Bild 11 und Bild 12 die Summenhäufigkeiten der operativen Raumtemperatur für den durchgehenden Betrieb dokumentiert. Speziell bei der geregelten Variante sind hier keine Sollwertunterschreitungen mehr zu detektieren. Die Summenhäufigkeiten für den ungeregelten Fall lagen dagegen deutlich über denen des intermittierenden Betriebes. Im Mittel wurden Raumtemperaturen erreicht, die größer als ϑ op = 22 °C sind.

Zu den energetischen und wärmephysiologischen Erläuterungen sind in der Tabelle 3 die mittleren Oberflächentemperaturen für die Hauptnutzungszonen dokumentiert. Prinzipiell ist dabei zu erkennen, dass für den intermittierenden Betrieb geringere mittlere Oberflächentemperaturen ermittelt wurden, als für den durchgängigen Betrieb. Die maximale Differenz beträgt hier bis zu Δϑ OF = 3 K. Betrachtet man die absoluten Werte, wurden erwartungsgemäß im Bad deutlich höhere Oberflächentemperaturen erreicht. Die in Tabelle 3 aufgelisteten mittleren Werte lagen dabei im Bereich der nach DIN EN ISO 7730 [14] zulässigen maximalen Werte. Für die mittleren Oberflächentemperaturen in den Funktionsräumen wurden die zulässigen Maximalwerte von DIN EN ISO 7730 [14] nicht erreicht.

Interessant sind diese mittleren Oberflächentemperaturen auch in Hinblick auf die Beurteilung des Selbstregelungseffektes bei Flächenheizsystemen. Der Selbstregelungseffekt, d.h. die Begrenzung der Wärmeabgabe, ist maßgeblich von der Übertemperatur (Temperaturdifferenz Oberfläche zur Raumluft) abhängig. Nimmt man die Werte der Tabelle 3 als Grundlage, dann lagen die Oberflächentemperaturen (Räume mit ϑ op = 20 °C, intermittierende Betriebsweise) durchschnittlich um 2,5 K über der operativen Raumtemperatur. Für die ungeregelte Variante mit einem Ventilhub H vent = 1,0 wurde eine Temperaturdifferenz zum Raum von 3,4 K ermittelt. Dies bedeutet, dass durch eine Einzelraumregelung innere Gewinne besser genutzt werden können, da eine kleinere Temperaturdifferenz überwunden werden muss.

Fazit der energetischen Betrachtung

Im Rahmen der vorliegenden Studie wurden Einzelraumregelungssysteme energetisch bewertet. Als Vergleichsfall wurde ein System betrachtet, welches ohne selbsttätige örtliche Regeleinrichtung ausgestattet ist. Bei der Untersuchung wurde ein typisches freistehendes Einfamilienhaus mit einer Nettogrundfläche von 160 m 2 zugrunde ­gelegt. Das Einfamilienhaus genügt dabei den ­Anforderungen der WSVO77.

Die energetischen Ergebnisse zeigten, dass örtliche Einzelraumregelungssysteme, die im direkten Bezug zur Raumtemperatur stehen, deut­liche energetische Vorteile gegenüber nicht kon­tinuierlich geregelten Systemen besitzen. Im intermittierenden Betrieb konnten im Rahmen dieser Studie energetische Vorteile von bis zu 11,6 % nachgewiesen werden. Für den durchgängigen Betrieb lagen die energetischen Vorteile eines Einzelraumregelungssystems bei bis zu 21,0 %.

Führt man eine Verringerung der Ventilstellung beim ungeregelten Betrieb durch, so ist es möglich, die energetischen Mehraufwendungen zu ­reduzieren. Die maximalen energetischen Mehraufwendungen lagen für diese Fälle bei 9,3 % (intermittierender Betrieb) bzw. 18,3 % (durchgängiger Betrieb). Damit zeigten die Ergebnisse dieser Studie, dass eine örtliche selbsttätige Regelung hohe energetische Einsparpotenziale bei Systemen mit Fußbodenheizungen erschließen kann.

Zu beachten ist, dass die prozentualen Angaben der Einsparpotenziale nur für die Klasse der untersuchten Gebäude Gültigkeit besitzt. Für eine Wirtschaftlichkeitsbetrachtung sind immer die absoluten energetischen Einsparpotenziale heranzuziehen. Im vorliegenden Fall lagen diese zwischen 25…44 kWh/(m 2 a) bezogen auf den ungünstigsten Fall ohne selbsttätige Einzelraumregelung.

Interessant sind die Ergebnisse dieser Studie auch in Hinblick auf die Beurteilung des „Selbstregelungseffektes“, welcher in Fachkreisen oft kontrovers diskutiert wird. Durch den Einsatz von Einzelraumregelsystemen wird die Temperaturdifferenz zwischen Oberflächen-Temperatur des Heizsystems und des Raumes verkleinert, wodurch innere thermische Gewinne besser ausgenutzt werden können. D.h. der „Selbstregelungseffekt“ kommt bei Flächenheizsystemen mit Einzelraumregelung besser zur Geltung, als bei Systemen ohne selbsttätig wirkende örtliche Regeleinrichtung.

Wirtschaftlichkeit der Nachrüstung

Vor dem Hintergrund der energetischen Bewertung wurde eine Abschätzung der Wirtschaftlichkeit bei der Nachrüstung alter Fußboden­heizungsanlagen mit Einzelraumregelsystemen durchgeführt. Basis der Betrachtungen bildete das ermittelte Einsparpotenzial nach Tabelle 3, das in Bild 13 visualisiert wird.

Energiekosten

Der Preis pro kWh Heizenergie, erzeugt aus Erdgas, für private Haushalte betrug 6,47 Cent für das 1. Halbjahr 2009, basierend auf den Angaben des Bundesamtes für Statistik. Aus Bild 14 wird ersichtlich, das sich beim Einsatz einer Einzelraumregelung im Vergleich zum ungeregelten Betrieb erhebliche Einsparungen ergeben. Beim durch­gehenden oder intermittierenden Betrieb lassen sich im Verhältnis vergleichbare Einsparungen ­erzielen.

Vergleicht man im durchgehenden Betrieb den ungeregelten Zustand (H = 1) mit dem geregelten, beläuft sich die Einsparung auf 464,03 Euro/a. Im intermittierenden Betrieb beläuft sich die Kostenersparnis beim Vergleich der gleichen Betriebsarten auf 250,71 Euro/a. Durch Anpassungen der Ventileinstellungen in den ungeregelten Betrieben (vgl. H = 0,25 / H = 1) können, wenn auch in geringerem Umfang, weitere Einsparungen in den Betriebsarten erzielt werden. Grundsätzlich lässt sich daraus ableiten, dass die geringsten Heiz­kosten beim intermittierenden Betrieb des ­Wärmeerzeugers in Verbindung mit dem Einsatz einer Einzelraumregelung entstehen.

Anschaffungskosten

Die einfachste und mit geringstem Aufwand zu ­realisierende Art der Nachrüstung ist der Einsatz einer funkgesteuerten Einzelraumregelung. So entfallen die Leitungsverbindungen zwischen den Raumtemperaturreglern und den Empfänger-Einheiten im Heizkreisverteilerschrank. Dadurch sind diese Systeme für Nachrüstungen sehr gut geeignet. Zur Ausrüstung des in der Untersuchung betrachteten Einfamilienhauses (Bild 1 und Bild 2) werden folgende Komponenten benötigt:

  • 10 Funk-Raumtemperaturregler (einen pro geregelten Raum)
  • 10 Stellantriebe (einen pro geregelten Heizkreis)
  • 2 Empfängereinheiten (eine pro Heizkreisverteiler)

Die Materialkosten für diese Einzelraumregelung belaufen sich durchschnittlich auf 1700 Euro inkl. MwSt. Dabei wurden die Durchschnittspreise von am Markt erhältlichen Systemen namhafter Hersteller zugrunde gelegt. Die Lohnkosten für ­Installationen werden gerundet mit 200 Euro ­inklusive MwSt. veranschlagt. Dies entspricht ca. 4 Arbeitsstunden mit einem Stundensatz von ca. 40 Euro, entsprechend eines durchschnittlichen Facharbeitersatzes. Insgesamt werden die Anschaffungskosten mit 1900 Euro veranschlagt.

CO 2 -Einsparung

Basierend auf den Ergebnisdaten des GEMIS-Projekts werden bei der Erzeugung von Heizenergie aus Erdgas 0,23 kg/kWh CO 2 freigesetzt. Betrachtet man unter diesem Aspekt die Betriebszustände (H = 0,25) als Ausgangspunkte, ergibt sich unter Berücksichtigung von Bild 13 für die Musteranlage:

  • CO2-Einsparung für einen um 6237 kWh/a geringeren Erdgasverbrauch bei durchgehendem Betrieb des Wärmeerzeugers: 1435 kg/a
  • CO2-Einsparung für einen um 3027 kWh/a geringeren Erdgasverbrauch bei intermittierendem Betrieb des Wärmeerzeugers: 696 kg/a

Bei einem bundesweiten Nachrüstpotenzial von 1 Mio. ungeregelten Warmwasser-Fußbodenheizungsanlagen ergibt sich, bezogen auf den Brennstoff ­Erdgas, eine mögliche CO 2 -Emissionsersparnis von 1,435 Mio. t/a beim durchgehenden Betrieb und beim intermittierenden Betrieb von 0,696 Mio. t/a.

Im Rahmen der KfW-Sonderförderung (431) „Energieeffizient Sanieren“, gewährt die Bundesregierung seit dem 1. April 2009 einen Zuschuss von 25 %. Gefördert werden spezielle Maßnahmen, die den CO 2 -Ausstoß von bestehenden Wohngebäuden mindern. Dazu gehört u.a. auch die Optimierung der Wärmeverteilung durch Verbesserung der ­Regeltechnik von bestehenden Heizungsanlagen.

Amortisationszeit

Bei der Berechnung der Amortisationszeit wurde der ungeregelte Zustand (H = 0,25) als Ausgangszustand zugrunde gelegt, da in diesem durch Hydraulischen Abgleich bereits die maximal mögliche Optimierung erreicht wird. Es wurde weiterhin die KfW-Sonderförderung berücksichtigt, wodurch sich der Anschaffungspreis 475 Euro (25 %) von 1900 Euro auf eine Investitionssumme von 1425 Euro reduziert. Auf dieser Basis und ­unter Berücksichtigung der jeweiligen jährlichen Einsparung der Betriebsarten ergeben sich die in Bild 15 dargestellten Amortisationszeiten für die Nachrüstung einer Funk-Einzelraumregelung. Bei steigenden Energiekosten verkürzt sich die Amortisationszeit weiter. Bei Anlagen, in denen eine Programmierung von Absenkzeiten für einen intermittierenden Betrieb nicht möglich ist, amortisiert sich die Nachrüstung einer Einzelraumregelung besonders schnell.

Fazit Wirtschaftlichkeit und Ökologie

Die Nachrüstung mit Funk-Einzelraumreglern in bestehenden Fußbodenheizungsanlagen bildet vor dem Hintergrund des nachgewiesenen Einsparpotenzials ein absolut vorrangiges Modernisierungsziel. Bevorzugt in älteren Gebäuden amortisieren sich die notwendigen Investitionen unter Berücksichtigung der KfW-Sonderförderung (431) bei durchgehendem Heizbetrieb in einem Zeitraum von 3,5 Jahren und bei intermittierendem Betrieb innerhalb von 7,3 Jahren.

Die ökologischen Vorteile durch die Nachrüstung summieren sich im betrachteten Modellgebäude beim durchgehenden Betrieb des Wärmeerzeugers zu einer CO 2 -Einsparung von 1435 kg/a. Bei intermittierendem Betrieb werden 696 kg/a weniger CO 2 emittiert. Das gesamte CO 2 -Reduk­tionspotenzial für die Altanlagen in der Bundes­republik Deutschland beträgt 1,435 Mio. t/a beim durchgehenden Betrieb bzw. im intermittierenden Betrieb 0,696 Mio. t/a.

Neben den geschilderten wirtschaftlichen und ökologischen Gründen sprechen die einfache ­Bedienbarkeit bei der Wahl der jeweiligen Raumtemperatur und Heizzeit und der Zuwachs an ­thermischem Komfort für die nachträgliche In­stallation der funkgesteuerten Einzelraumregler. Für Planer und Installateure erschließen sich hier interessante, neue Tätigkeitsfelder.

1) Abkürzungen

Q RLu Wärmeabgabe des Verteilsystems auf den unbeheizten Raum bezogen [kWh]

Q RLb Wärmeabgabe des Verteilsystems auf den beheizten Raum bezogen [kWh]

Q FBH Wärmeabgabe der örtlichen Raumheizfläche Fußbodenheizung [kWh]

Q HK Wärmeabgabe der örtlichen Raumheizfläche Heizkörper [kWh]

Q ges Energetische Gesamtaufwendungen [kWh]

Literatur

[1] Bautätigkeit und Wohnungen. Mikrozensus-Zusatzerhebung 2002, Bestand und Struktur der Wohneinheiten, Wohnsituation der Haushalte. Wiesbaden: Statistisches Bundesamt, 2002

[2] Deutsche Gebäudetypologie, Systematik und Datensätze. Darmstadt: Institut Wohnen und Umwelt GmbH, 2003

[3] Unveröffentlichter Abschlussbericht. Bundesverband Flächenheizungen und Flächenkühlungen e.V., Hagen: 2009

[4] DIN EN 1264 Raumflächenintegrierte Heiz- und Kühl­systeme mit Wasserdurchströmung, Teile 1 bis 5 Berlin: Beuth Verlag, 2007

[5] Verordnung über einen energiesparenden Wärmeschutz bei Gebäuden (Wärmeschutzverordnung – WSVO). Bonn: August 1977

[6] Klein, S.A. et al.: TRNSYS 14.2 A Transient System Simulation Program. Madison USA: University of Wisconsin, 1996

[7] Felsmann, F.; Gritzki, R.; Le, H.: Verbundprojekt: Building Energy Analysis Tools, Solarbau, TK2: Deutsche Mitarbeit in der IEA-SHC-Task22-Teilprojekt: Simulationsprogramme für NEH / Institut für Thermodynamik und TGA, TU Dresden.

[8] Perschk, A.: Gebäude-Anlagen-Simulation unter der Berücksichtigung der hygrischen Prozesse in den Ge­bäudewänden. Dresden: Fakultät für Maschinenwesen, TU Dresden, Dissertation, 2000

[9] Gritzki, R.: Bestimmung der Effektivität nutzerbedingter Fensterlüftung mit Hilfe numerischer Simulationsverfahren. Dresden: TU Dresden, Dissertation, 2001

[10] Seifert, J.: Zum Einfluss von Luftströmungen auf die thermischen und aerodynamischen Verhältnisse in und an Gebäuden. Dresden: Fakultät für Maschinenwesen, TU Dresden, Dissertation, Oktober 2005

[11] Christoffer, J.; Deutschländer, T.; Webs, M.: Testreferenzjahre von Deutschland für mittlere und extreme Witterungsverhältnisse TRY. Deutscher Wetterdienst, 2004

[12] Recknagel, E.; Schramek, E. (Hrsg.): Taschenbuch für Heizung und Klimatechnik. München: R. Oldenbourg Verlag, 72. Ausgabe, 2005

[13] VDI 3808: Energiewirtschaftliche Beurteilungskriterien für heizungstechnische Anlagen. Düsseldorf: VDI, Januar 1993

[14] DIN EN ISO 7730 Ergonomie des Umgebungsklimas – Analytische Bestimmung und Interpretation der thermischen Behaglichkeit durch Berechnung des PMV- und des PPD-Index und Kriterien der lokalen thermischen Behaglichkeit. Berlin: Beuth Verlag Mai 2006

[15] VDI 2078: Berechnung der Kühllast klimatisierter Räume – VDI Kühllastregeln. Düsseldorf: VDI 1996

NEU

Mehr Infos zum Thema im

TGA-Online-Dossier

Auf https://www.tga-fachplaner.de/

einfach Webcode 917 eingeben.

Joachim Plate

Dipl.-Ing., ist Geschäftsführer des Bundes­verbands Flächenheizungen und Flächen­kühlungen (BVF) und der RAL-Gütegemeinschaft Flächenheizungen und Flächenkühlungen (GGF) in Hagen und Mitglied in verschiedenen ­Normungsgremien, z.B. DIN V 18599, DIN EN 12831, DIN EN 1264.

Jetzt weiterlesen und profitieren.

+ TGA+E-ePaper-Ausgabe – jeden Monat neu
+ Kostenfreien Zugang zu unserem Online-Archiv
+ Fokus TGA: Sonderhefte (PDF)
+ Webinare und Veranstaltungen mit Rabatten
uvm.

Premium Mitgliedschaft

2 Monate kostenlos testen